
Mazda might be planning a fully-electrified MX-5
And it has a novel layout for the batteries in order to maintain the Miata's sacred weight distribution
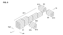
Mazda’s creatively titled, newly published ‘Electric Vehicle’ patent looks like the makings of an electron-powered MX-5, where the batteries are stored in "the tunnel portion of the formed floor".
The application – complete with some extremely useful illustrations (above) – details how such a sporty EV would use this novel approach, coupled with cells under the rear seats and passenger side, to keep things (specifically weight) even-stevens when the driver is on a solo trip.
The application states: “It is important to reduce the yaw moment of inertia of the vehicle when considering the kinetic performance of the automobile, so that will be a key issue.” In layman’s terms, Mazda wants a potential electric MX-5 to respond as memorably as an ICE-powered one, and since EVs are widely regarded as creatures of mass, where you put the battery weight to get the sharpest reduction in yaw inertia (i.e. a resistance to a change in direction) matters.
The Mazda MX-30 and another model planned for 2027 are already fully electric, but the Japanese carmaker has been reluctant to get electron-heavy with the its best-selling roadster, because lumbering elephants do not nimble mices make. Basically, an MX-5 won’t move enjoyably with heavy batteries.
How many batteries you cry? The plan keeps things flexible: “The plural battery units are arranged at various portions of a vehicle body, so that the installation quantity (volume, capacity) of the battery can be increased.” They'll be stacked or stepped as required (see pics above).
If you're long-legged, fear not. There are also details of a manually adjustable sliding mechanism to align an additional battery pack on the passenger side with the point at which the driver has their seat positioned for the most comfort. And much is made of the cushioning on said battery pack for passenger comfort. Right, then.
The patent says the vehicle may have front- or rear-wheel-drive (we see it covers all bases there), and discusses the potential battery types for the EV which could vary depending on placement. Hmm, interesting.
Last year, Mazda agreed to continue working with Subaru and Toyota on combustion engines, and mutterings of a rotary-based range-extender have been louder than fully electric ones. Til now, that is. What do you think?
Top Gear
Newsletter
Thank you for subscribing to our newsletter. Look out for your regular round-up of news, reviews and offers in your inbox.
Get all the latest news, reviews and exclusives, direct to your inbox.





